W celu świadczenia usług na najwyższym poziomie stosujemy pliki cookies. Korzystanie z naszej witryny oznacza, że będą one zamieszczane w Państwa urządzeniu. W każdym momencie można dokonać zmiany ustawień Państwa przeglądarki. Zobacz politykę cookies.
Powrót

Energoelektroniczny układ zarządzania energią w procesach szybkiego ładowania zasobników energii

Elementy

 kwadrat z odchodzącymi mackami  Tytuł projektu

Energoelektroniczny układ zarządzania energią w procesach szybkiego ładowania zasobników energii

zarys górnej sylwetki człowieka  Nazwa Beneficjenta/Beneficjentów

MARKEL Sp. z o. o.

ikona teczki  Nazwa programu

Programy krajowe

ikona gazety  Konkurs

„Ścieżka dla Mazowsza”

ikona dwóch kupek monet  Wartość projektu

5 892 100,49 PLN

ikona ręki, a nad nią dwa kółka  Wartość dofinansowania

4 502 415,48 PLN

ikona zegara  Okres realizacji projektu

od 01.01.2020 r. do 30.06.2023 r.

Zobacz efekt naszej pracy

1

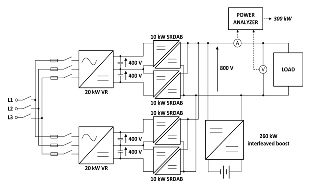
Schemat blokowy opracowanego przez Markel systemu zarządzania energią w procesach szybkiego ładowania zasobników energii

 

2

Elementy systemu z zasobnikiem bateryjnym w trakcie badań końcowych

Jaki problem rozwiązuje nasz projekt?

Rosnąca ilość niesterowalnych źródeł energii oraz odbiorników energii eklektycznej wymagających dużego zapotrzebowania na moc w krótkim okresie czasu stanowi duże wyzwanie dla sieci energetycznych. Opracowany przez Markel układ zarządzania energią pozwala na obsługę zasobników bateryjnych, ładowanie w długim okresie czasu niską mocą i krótkotrwałe rozładowanie dużą mocą. Dzięki takiemu podejściu możliwe jest zasilanie odbiorników nieliniowych o wysokiej mocy szczytowej bez zmiany warunków przyłączeniowych. Możliwa jest również dodatkowa stabilizacja parametrów sieci zasilającej. System doskonale sprawdzi się w aplikacjach ładowarek pojazdów elektrycznych, instalacjach OZE czy mikrosieciach przemysłowych.

Kto skorzysta z wyników projektu?

Efekty projektu przynoszą wymierne korzyści dla odbiorców energii elektrycznej o ograniczonej mocy przyłączeniowej, którzy chcieliby swoje instalacje rozbudować o ładowarki pojazdów elektrycznych lub inne odbiorniki dużej mocy szczytowej. Opracowany system daje również duże możliwości właścicielom odnawialnych źródeł energii na zmianę charakterystyki instalacji i zarządzanie generacją z punktu widzenia odbiorników. Beneficjentem tego rozwiązania są również operatorzy sieci dystrybucyjnych, gdyż w naturalny sposób opracowany system zarządzania energią stabilizuje parametry napięciowe oraz częstotliwościowe.

{"register":{"columns":[]}}